海王星机械泵 (NPAG0050PR1MNN _基睿环保库存代理商)
NPAG0050PR1MNN

 

1 综述

 

NPA/NPB系列机械隔膜计量泵是往复式化合物投加泵,输送流量达500L/hr,压力达12Bar,这种NPAG0050PR1MNN泵的特点是机械驱动隔膜。冲程调节机构基于可调偏心机构的工作原理。这种设计显著地减小了压力和流量的脉动程度。

 

在10%~100%的流量范围内,稳态精度为额定流量的±2%。NPA和NPB系列计量泵的结构如下图所示:

 

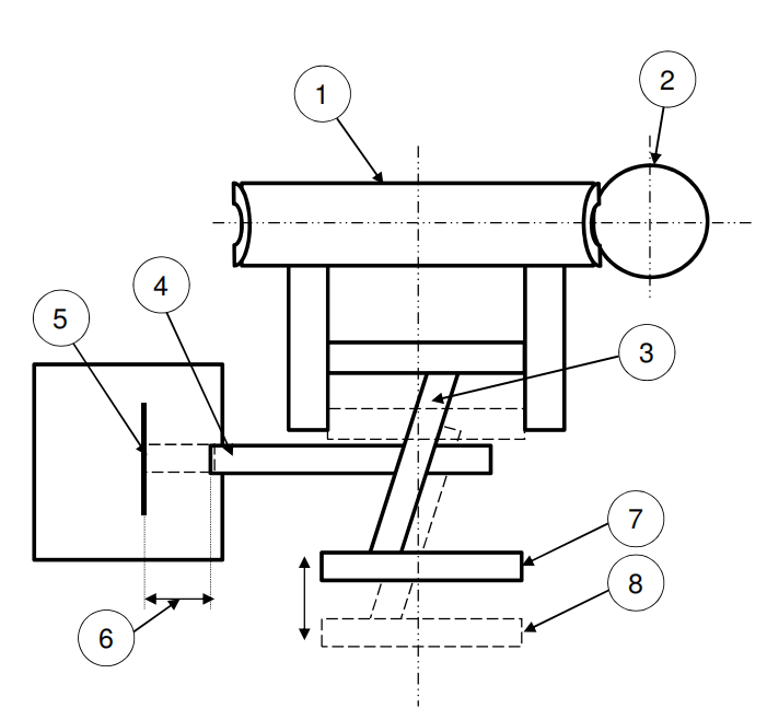
图1 :NPA泵组成

 

NPAG0050PR1MNN

 

1.电机

 

2.驱动端

 

3.液力端

 

4.冲程调节机构

 

5.中间端

 

6.进口单向阀组件

 

7.出口单向阀组件

 

8.冲程锁紧机构

 

 

图2:NPB泵组成

 

NPAG0050PR1MNN

 

1.电机

 

2.驱动端

 

3.液力端

 

4.冲程调节机构

 

5.中间段

 

6.进口单向阀组件

 

7.出口单向阀组件

 

8.冲程锁紧机构

 

 

图3:冲程调节原理

 

NPAG0050PR1MNN

 

1.蜗轮

 

2.蜗杆

 

3.偏心结构

 

4.连杆

 

5.隔膜

 

6.冲程长度=2倍偏心炬

 

7.0%手柄位置

 

8.100%手柄位置

 

 

2 工作原理

 

驱动端(见图3)

 

NP系列NPAG0050PR1MNN泵由两大部分组成:驱动端和液力端。输出流量取决于驱动端的冲程长度、液力端隔膜尺寸规格及冲程速度。无论在泵的运行或者停止状态,均可通过调节冲程调节手柄改变冲程长度,驱动端根据可变偏心结

 

构原理进行工作,通过调节手柄的旋转,驱动偏心机构内外偏心零件产生不同的偏心距离,通过曲柄连杆结构把蜗轮的旋转运动转变为连杆的直线往复运动。当冲程为0%时,连杆轴心与蜗轮轴轴心同心对齐,所以连

 

杆没有直线往复运动产生。当冲程为100%时,连杆轴心与蜗轮轴轴心之间产生偏心距,导致连杆产生直线运动。

 

机械驱动隔膜液力端(见图3)

 

隔膜组件和连杆采用机械方式相连,与连杆同时进行直线往复运动。在吸入冲程时,隔膜开始向后运动,泵头内压力降低,当泵头内压力低于吸液管路压力时,吸入口单向阀球被向上推开,进口管路中的介质进入泵

 

头腔内。当吸入冲程结束,隔膜运动瞬间停止,NPAG0050PR1MNN泵头内的压力与进口管路中的压力相同,吸入单向阀阀球复位。

 

注意:

 

在介质吸入过程中,泵头内的压力必须高于物料的饱和蒸汽压。如果液体压力低于其气化压力,就会产生汽蚀现象,损伤单向阀阀球及阀座,影响泵的性能,建议用户如果对怀疑有汽蚀现象产生,请联系工厂进行确认!

 

在排出冲程时,隔膜开始向前运动,NPAG0050PR1MNN泵头内压力立刻升高。当泵头压力高于出口管路压力时,排出口单向阀阀球被向上推开,泵头内的介质进入出口管路。当排出冲程结束时,隔膜再次瞬间停止,泵头内的压力与出

 

口管路的压力相同,出口单向阀阀球复位,随后开启下一个循环过程!

 

 

3 性能参数

 

流量:0-500L/hr

 

压力:0-12Bar

 

稳态精度:在10%-100%的流量范围内,稳态精度为±2%额定流量

 

流量调节:可锁定的流量调节旋钮,无论泵是否运行,0%-100%范围内可调

 

润滑:油浴润滑(具体润滑油的选择参见3 1节中的油品推荐)

 

温度:输送介质最高温度为40℃,最低-10℃;

 

吸程:标准NPAG0050PR1MNN泵最大吸程2m水柱

 

 

安 装

 

开箱

 

泵或无化学品的系统在拆箱时,不要丢弃任何零件。如果有损坏,请在24小时内,向承运人备案。海王星将协助估测修理成本。

 

在收货时,一定要仔细地检查包装,确认货物包(装没有损坏。并依据装箱单、采购单来对照铭牌数据,确保所提供的泵是正确的。当打开包装的时候,注意避免碰坏包装箱和包装箱内的附件,并对照装箱单来核对货物。

 

如果发现损坏,在打开包装前记录下损坏性质和程度。应对损坏部位进行拍照,该照片将有利于向发货人进行索赔,联系百士吉公司或本地的授权代理商。

 

安置

 

机械隔膜计量泵是全封闭泵,可用于室外或室内。在室外安装时,需确保避免以下极端环境:

 

运行中的泵如果暴露在热带直射阳光下,环境温度高于90°F(32°C)时,会导致油品和马达超温。应该为泵提供遮阳,并安装在空气充分流动的场所。

 

在低温环境下,必须对泵加保温,并提供加热使液压油所处的环境温度高于36°F(2°C)。用一个水平坚固的、抗振动的基础支持泵。基础最好高于地面,以免被水浸到,同时也便于维修。在泵的周围预留足够的空间,便于泵的维护,调整。

 

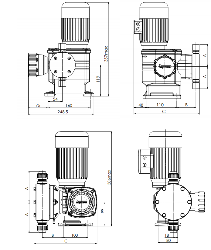
NPAG0050PR1MNN泵均有安装孔,以便于安装地脚螺栓,参考图4安装孔尺寸。

 

安装到室外的泵应有雨篷遮挡。

 

 

图4 NPA/NPB外形尺寸

 

NPAG0050PR1MNN

 

NPAG0050PR1MNN

 

 

泄漏物收集

 

应预备一个容器,用于收集隔膜或者油封破裂后泄漏的介质或润滑油。当处理一些有害性的介质时,此工作尤其重要。

 

容器应放置在泵头底部(见图1),用户收集隔膜或油封破裂后泄漏的介质或润滑油。对于NPA/NPB90-NPA/NPB500,将容器放置于泵头底部软管接头下,或者在接头上连接一段软管,将泄漏物排放到合适的容器中。

 

 

安装

 

图5列出了计量泵系统安装中推荐的管路附件。

 

NPSH条件

 

设计NPAG0050PR1MNN计量泵进出口管路时,应以瞬时峰值流量为准。因为计量泵隔膜的往复运动,使泵的输出流量遵循近似的正弦曲线。在峰值的瞬时流量约为平均流量的3 14倍,因而管路必须以泵的额定流量的3 14倍进行设计。

 

如额定流量为200L/hr,要求管路配置按照3 14x200L/hr=628L/hr的要求进行设计。

 

当输送粘稠液体时,为减少高粘液体的流动损失,请按照比泵的入口尺寸大4倍的入口管路进行设计。如果不确定,请与厂家联系以确保必要的管路尺寸。

 

一般管路条件

 

应特别注意塑料泵头与PVC一类硬质管路的连接。如不能完全避免额外的应力或波动,建议采用柔性连接形式。

 

使用可以防止溶液腐蚀的管材。应小心选择材料,以避免泵头与外接管路连接处的电化学腐蚀。

 

管路承压必须满足最高压力要求。去除管路内的毛刺。锐边和残渣,进行最后连接前,应吹净所有管路。

 

 

图5 典型安装

 

NPAG0050PR1MNN

 

管路应倾斜布置以避免空气段的形成。因为泵头内含有气体将造成泵的流量不准确。当输送含有悬浮状态固体的介质(如泥浆)时,在所有的90度万头处都应安装带管堵的四通,使管路在不拆卸的情况下能够进行清洗。

 

图5为建议的一种典型的安装图。

 

 

吸入管路

 

NPAG0050PR1MNN泵的进口管道必须绝对气密以实现最佳运行,进口管线的泄漏会降低输送流量。管线应该大于泵进口尺寸至少一号。建议用低压空气对进口管道充压,并用肥皂水检漏。提升式进口管线的总长应该控制不超过2m。尽

 

可能减少弯头及其他限制条件以获得更好的泵送效率。海王星建议,最好布置泵的吸入端低于储液池的最低液位,使机械隔膜计量泵采用倒灌式进液。这将便于启动,延长使用寿命。提升式进液需使用脚阀。为了减

 

少计量泵吸入的管路损失,吸入管路应尽量短和直。

 

海王星建议,计量泵应在入口压力为大气压或高于大气压的条件下运行,尽管泵能在入口压力低于大气压的条件下运行,但在负压的条件下,所有连接部件应绝对不渗漏且为真空密闭是很重要的,同时应在吸入管路底部安装脚阀

 

当输送接近沸点的物料时,应提供足够的吸入压头,以避免物料在吸入冲程进入泵头时汽化。

 

如有可能,吸入管路应尽量使用金属或者塑料管材。这样的管材有光滑的内壁,减小沿程损失。并采用大半径转弯以减少管路的局部阻力损失。

 

吸入管路上应布置过滤器以防止外部的颗粒进入泵头,避免残渣进入泵头而引起单向阀阻塞。应经常检查过滤器以避免堵塞。

 

当必须使用长距离吸入管路时,应在泵入口附近的吸入管路上安装一个竖直立管。

 

吸入管路中不能有弯曲段,吸入管路顶部的弯曲会导致排气不尽,产生空气段。空气段和气泡的堆积会导致吸入量不足。

 

 

排出管路

 

出口管线的直径应不小于出口阀口径,这样可以避免由于管路的口径太小造成排出冲程过程产生过大的压力损失;

 

建议计量泵在合适的背压下运行(至少10Psig),这样才能保证准确的计量精度,如果应用条件不能产生超过10Psig的进出口压差,强烈建议在出口管路上安装背压阀进行人为的建立出口压力。

 

要求准确剂量的应用环境应保证使用独立的计量泵进行添加,如果采用单台计量泵对多点添加,会造成由于每个投加点的极小的压差而造成添加精度比较差。

 

 

阀门

 

背压阀

 

所有NPAG0050PR1MNN计量泵在低进出口压差条件下工作时,有可能出现虹吸作用造成添加剂量不准,为防止出现此类现象,必须保证计量泵添加的计量精度,需要在计量泵的出口管路中安装背压阀保证进出口管路不小于10Psig的压

 

差。通常,背压阀的安装位置应靠近泵的出口。然而对于大流量的泵,且出口管路长而细,背压阀的安装位置应靠近加注点,以减小虹吸的趋势。

 

 

脉动缓冲器

 

在出口管路上脉动缓冲器应与背压阀同时使用,以吸收NPAG0050PR1MNN泵和背压阀之间的流量峰值。没有脉动缓冲器,背压阀将随着每次冲程的进行快速的打开或关闭。有脉动缓冲器时背压阀将在半开和半关的位置振荡,因而可减

 

小背压阀的磨损速度。出口管路的脉动缓冲器的更大的优点是限制计量泵的流量和压力的变化特性。安装适当容积的脉动缓冲器将改善泵的工作性能,并可以使用较小口径的管路,在很大的程度上降低系统的造价。

 

一般推荐的缓冲器简单计算方法如下:充气压力:P充气压力=(0 6-0 7)P出口压力缓冲器容积:V≥15 X (SWEPT) ; SWEPT:计量泵的每冲程容积更多的脉动缓冲器的需求请联系您的产品代理商。

 

 

正确维护

 

警告:在对计量泵和管路进行任何维护前,应切断电源,并采取必要措施防止有害物料与操作者接触。必须提供合适的防护设备,确认泵与系统内均没有压力。

 

清洗堵塞的单向阀

 

单向阀设计为自清洗形式,很少需要维护。堵塞的单向阀通常用稀的中性洗涤剂和温水(与物料兼容)泵送15分钟,然后用水清洗。

 

更换单向阀

 

说明

 

在对单向阀进行处理前,应确认截止阀已经关闭,系统压力已泄放,更换单向阀同时必须更换O型圈。参见液力端剖面图,注意单向阀正确的装配顺序。对于NPA/B 0090-NPA/B 0500的塑料单向阀,阀球应放置于阀座锐边一侧。

 

警告:重新装配单向阀时,确信仔细地遵循说明并参照正确的图例。如果单向阀安装不正确,会出现下列现象:

 

1) 立刻对NPAG0050PR1MNN计量泵的机械结构造成严重损坏

 

2) 没有物料输送

 

3) 产生反向输送介质(从出口管路向入口管路输送)

 

预备工作

 

1 将冲程调节手柄调至0%。

 

2 切断电源,确保设备不会被意外启动。在电源开关上悬挂告示牌,告知“设备维修中”。

 

3 断开计量泵进、出口单向阀与系统的连接。

 

服务热线:021-54000001 54000008 13296120587 18917238932 18017898823 传真:021-54000008 邮箱:sales@juovi.com

版权所有:基睿仪器(上海)有限公司  NPAG0050PR1MNN 计量泵、NPAG0050PR1MNN 机械泵、NPAG0050PR1MNN 隔膜泵、海王星NPAG0050PR1MNN 加药泵

Copyright2011-2018 JuoviCorporation. All rights reserved 沪ICP备11030743号-16